翻跳有风险!翻跳女团舞蹈的百余位网友遭起诉索赔万元
5月22日,上海一舞蹈工作室在小红书发文称自己去年在短视频平台发布了韩国女子偶像团体IVE新歌《baddie》翻跳的视频。22日工作室突然收到了起诉状要求索赔两万元,工作室工作人员向网友求助“什么时候kpop翻跳也涉及侵权了?岂不是全网那么多翻跳都侵权嘛?”

索赔上万元
同一公司今年来已发起160余起侵权诉讼
这家上海的舞蹈工作室不是唯一一家因为翻跳了IVE舞蹈被起诉侵权的,这条帖子发布后很快引发了众多网友讨论,其中有相当多网友表示自己遭遇了同样的情况,“我们舞室也收到了,只能赔钱了。”“我们也收到了,我们就是为爱发电的,自费还原妆造,花了很多时间组队排练,还自费拍摄翻跳作品,发生这种事情真的很震惊。”
该舞蹈工作室透露,被起诉侵权的翻跳视频有两条,分别发布于2023年10月16日和10月31日,都打了IVE相关的标签,说明了相关舞蹈为翻跳内容。近期女团IVE陷入了挪用中国文化、MV抄袭等争议当中,工作室删除了IVE所有歌曲内容。2024年1月6日原告广州立梵醍文化传播有限公司向上海市杨浦区人民法院发起诉讼,5月22日工作室收到了法院官方的通知并送达法院文书。工作室方面表示能理解歌曲本身是有版权的,但是翻跳也是对歌曲的一种宣传,可以让偶像更出圈,相关视频是大家为爱发电,视频本身流量也低,并未通过视频盈利。

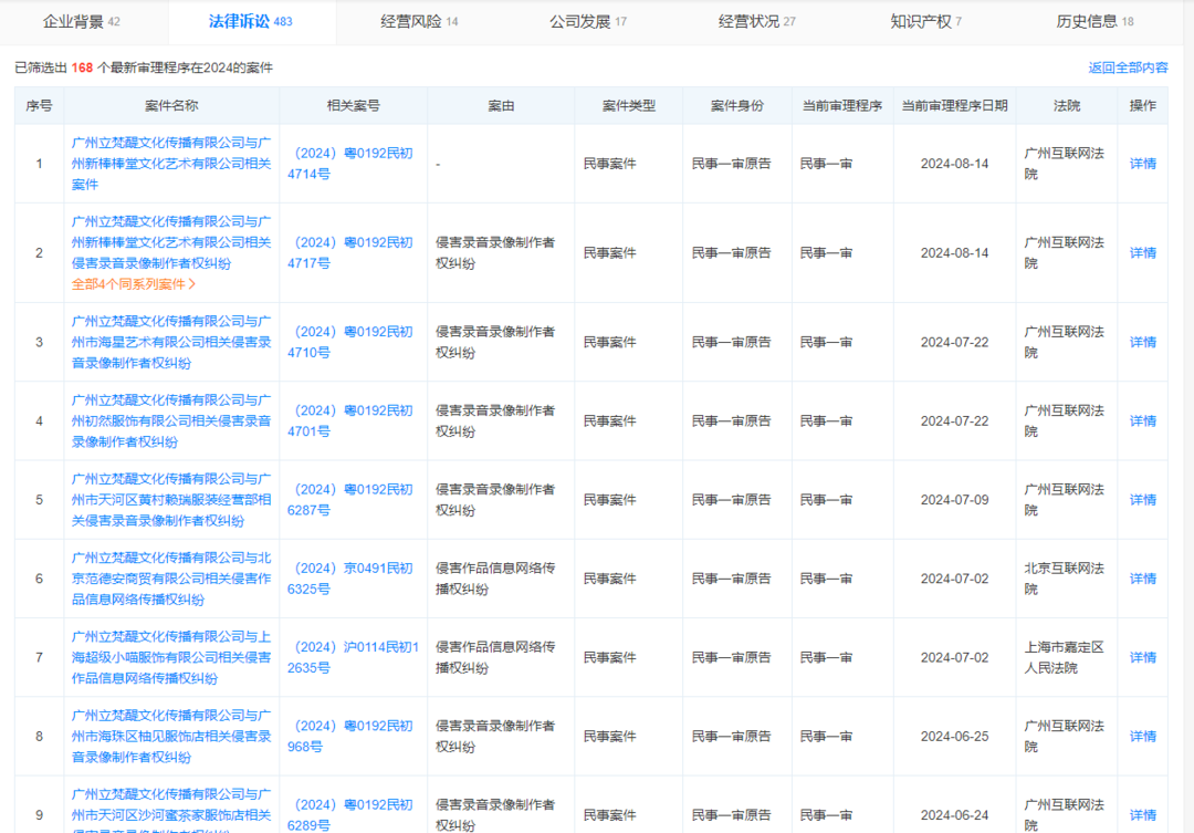
韩国女团IVE所属公司为星船娱乐,广州立梵醍文化传播有限公司为星船娱乐的授权公司。天眼查App显示,广州立梵醍文化传播有限公司成立于2014年1月,注册资本100万人民币,法定代表人为何伟祥,由何伟祥、何爱兰共同持股。根据该公司的案件分析数据显示,截止今日该公司在2024年已有168个正在审理中的案件,68.0%的涉案案由为侵害录音录像制作者权纠纷,98.8%的案件身份为原告,当前有166个案件处于民事一审阶段,最新开庭日期已排到8月14日。
不过,该公司起诉要求索赔万余元的要求并不一定会得到法院的支持,以最近公开的该公司与东莞市某艺术传媒有限公司的侵害作品信息网络传播权纠纷民事一审民事判决书来看,被告在短视频账号中发布了35秒翻跳视频,使用了IVE的歌曲,原告索赔1万元。法院认为涉案音乐作品构成著作权法所保护的作品,被告侵犯了原告对案涉音乐作品享有的信息网络传播权,但原告未举证证明原告的实际损失和被告的违法所得,最终判被告赔1800元。

律师谈:翻跳有风险,“先上车后买票”不可行
翻跳和翻唱类似,大部分翻跳会尽可能的还原原版的动作和感觉,一些比较用心的翻跳视频还会特意还原原版的妆造。翻跳被大部分网友视作一种二创行为,翻跳也常被认为是一种粉丝主动的宣传行为。翻跳和影视剧剪辑二创面临的问题类似,当版权所有方不追究甚至是默许二创时,翻跳博主不会遭遇侵权起诉,这也是为什么网上存在大量翻跳视频,但一旦版权所有方追究就很有可能被认定为是侵权行为。
陕西恒达律师事务所高级合伙人、知名公益律师赵良善认为,舞蹈作品与音乐作品是《著作权法》规定的两种作品类型,歌曲旋律和舞蹈动作都受到法律的保护。如果事先没有征得作品权利人的同意和授权都可能构成侵犯著作权。在发布视频时即便是打上了原作者的标签也不能避免侵权之嫌,“即便在视频中标注了来源女团IVE,表明了并非自己原创,但依据《著作权法》第24条规定,只有免费表演他方的作品,该表演未向公众收取费用,也未向表演者支付报酬,且不以营利为目的,才算是合理使用,不构成侵权。如果舞蹈工作室或者个人开直播营利,接受打赏,则构成侵权,侵犯了著作权人的表演权及信息网络传播权。”
实际上,在线上直播间或者线下街头艺人翻跳被告侵权的案例屡见不鲜,“事实上,线上直播间的博主也好,线下街头艺人也罢,翻跳他人的舞蹈,绝大多数人的目的是为了营利、赚钱,并非单纯地宣传他人的作品。如果有些博主真的是无偿表演,也不必担心侵权,即便被诉,也会胜诉。”赵良善提示,公众应当要不断提高知识产权法律意识,若有牟利企图一定要事先取得权利人的授权或同意,“上车不买票”、“先上车后买票”均不可取,都会惹上官司。(沈昭)
编辑:陈拾梅 审核:欧阳兴




























